2025-04-06 18:11:20照明科技園
本站 4 月 6 日消息,外媒Roadtovr聯系任天堂,確認任天堂在2019年推出的 Labo VR紙板頭顯配件不兼容Switch 2游戲機。

據悉,由于Switch 2游戲機尺寸相對于初代Switch有所調整,因此無法裝入 Labo VR紙板頭顯配件,不過這可以通過魔改 / 重新開模自制相應頭顯配件來解決。
但目前尚不知悉任天堂是否會對 Labo VR 配套的游戲進行限制,例如使其直接無法在Switch 2平臺上運行,考慮到任天堂已宣布“Labo VR配件不支持Switch 2”,因此該公司很有可能在相應游戲機上施以限制,具體還需實機到手專門進行測試。
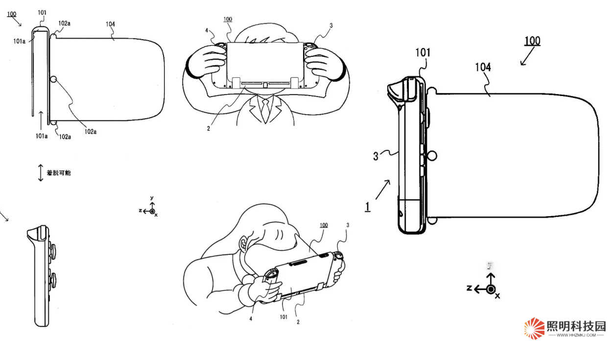
本站同時注意到,任天堂在2024年公開的一項專利顯示該公司很有可能推出第二代 Labo VR紙板頭顯,這意味著Switch 2不兼容現款 Labo VR紙板頭顯的原因可能是“任天堂計劃推出新的VR頭顯配件”。

任天堂 Switch 2 直面會專題
聲明:本文內容及配圖由入駐作者撰寫或者入駐合作網站授權轉載。文章觀點僅代表作者本人,不代表本站立場。文章及其配圖僅供學習分享之
新品榜/熱門榜